Les projets fous d’Amazon – Les ingénieurs d’Amazon planchent depuis des années sur des systèmes de livraison révolutionnaires pour abaisser drastiquement les coûts d’expédition de l’entreprise sous peine de ne jamais rentabiliser son activité e-commerce.
Ses revenus n’augmentent pas assez vite pour compenser la hausse vertigineuse des coûts de livraison (multipliés par 22 entre 2006 et 2017, pour atteindre plus de 7 milliards de dollars cf mon article précédent ici.)
Ses équipes R&D multiplient les dépôts de demandes de brevets pour des projets futuristes liés à la logistique et à la livraison.
Entrepôts volants pour drones et colis
Avril 2016 – Dépôt d’un brevet original. Un projet de centre de traitement volant, qui pourrait prendre la forme d’un dirigeable, qui délivrerait des colis à l’aide de drones et serait ravitaillé à l’aide de transporteurs
Bien qu’Amazon ait commencé à effectuer ses premières livraisons à l’aide de drones (cf article), la durée d’autonomie de ces derniers est limitée. Les drones ne peuvent pas délivrer de colis à des adresses trop éloignées de l’entrepôt. Pour pallier à ce problème, Amazon a déposé un brevet auprès des Etats-Unis pour un projet d’entrepôt volant.
? Dans sa demande de brevet, Amazon explique que des transporteurs, pouvant aussi prendre la forme de petits dirigeables, pourraient être utilisés pour amener drones et colis jusqu’au centre de traitement aérien. Ils transporteraient aussi l’énergie et le personnel nécessaires au centre de traitement pour que l’entrepôt volant n’ait pas à redescendre sur la terre ferme. Au-delà de la technologie nécessaire pour réaliser un tel entrepôt, Amazon aurait très certainement besoin de l’accord de la Federal aviation administration (FAA), l’autorité de régulation de l’aviation civile américaine. Le chemin semble encore être long avant qu’Amazon ne puisse mettre en place un tel système.
Les petites ruches pour drones de livraisons
Juin 2017 – Amazon veut construire des ruches pour drones géantes dans les centres-villes
On sait depuis quelques temps déjà qu’Amazon développe très sérieusement un programme de livraison par drones. Depuis, on se demande bien comment cela va fonctionner. Il se pourrait que les paquets soient lestés de parachutes intégrés à l’emballage. Mais où les drones iront-ils prendre ces paquets ? Et où retourneront-ils une fois leur livraison terminée ? Un entrepôt classique serait vraisemblablement inadapté à ce type de livraisons, mais Amazon a pensé à tout. The Verge a repéré qu’Amazon avait déposé le 22 juin un brevet pour un « centre d’opération à multiples niveaux pour véhicules aériens sans pilote ».
? En d’autres termes, de gigantesques ruches pour drones de livraison. Amazon précise dans le brevet que les entrepôts actuels sont construits « en bordure des villes où il y a de l’espace ». Mais contrairement à eux, ces centres à plusieurs étages peuvent être construits sur la hauteur, leur permettant d’être construits « dans les centre-villes ou les zones urbaines densément peuplées ». Plus la structure sera haute et moins les drones se mettront en travers du trafic routier et piétonnier
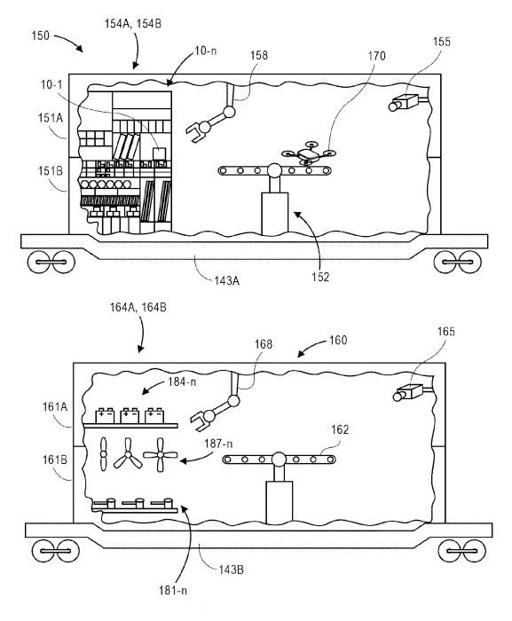
Août 2017 – Amazon imagine la livraison de colis avec des drones lancés depuis un train
Amazon a obtenu un brevet aux USA qui envisage le décollage de ses drones depuis des trains. La compagnie a en effet obtenu un brevet le 1er août qui décrit une méthode par laquelle elle utilise des trains comme base opérationnelle mobile pour déployer ses drones en fonction de ses besoins commerciaux.
Le concept … Des trains circuleraient sur des voies. À l’intérieur, tout serait aménagé pour gérer automatiquement un ou plusieurs drones : l’un d’eux pourrait entrer par le toit, récupérer une marchandise qu’un bras télescopique aurait mis préalablement de côté et ensuite partir remplir sa mission. On pourrait imaginer par exemple qu’Amazon envoie son train à drones dans les centres et hyper-centres et ainsi livrer via ses drones plusieurs clients éparpillés dans plusieurs villes situées à quelques dizaines de kilomètres de distance de la voie de chemin de fer. Le train descendrait via les lignes principales, se placerait sur une voie de service et les toits des wagons s’ouvriraient alors pour libérer la flotte de drones…. science fiction ?
Août 2017 – Après les stations de drones mobiles sur des trains, des bateaux maintenant des camions
Après les ruches, les dirigeables ou les lacs, Amazon pense désormais à construire des stations de drones mobiles sur des camions. C’est du moins ce qui ressort de l’un des derniers brevets déposés par le géant de Seattle au début du mois d’aout. Plutôt que de faire partir des drones d’un entrepôt lointain, les ingénieurs d’Amazon ont donc conçu des bases logistiques qui pourraient se déplacer avec des produits couramment commandés, ou qui sont susceptibles d’être demandés à des périodes clés . Ces stocks en mouvement présentent l’avantage de raccourcir les distances de livraisons finales. Dans chaque train, Amazon prévoit d’insérer un ou plusieurs wagons dédiés à la maintenance des drones, pour réparer un rotor capricieux ou recharger les batteries. Car ces engins volants ne chômeront pas.

Les petits parachutes sur les colis livrés par drone
Un brevet pour des colis munis de parachutes. Repéré par le site GeekWire : certains colis livrés par drone pourraient intégrer un parachute.
? Le parachute est alors déclenché par le drone qui, lorsqu’il lâche le paquet dans les airs, tire la ficelle permettant de le déployer. Cela permettrait, en réalité, de réduire la distance parcourue par l’engin volant pour sa livraison : il ne doit plus se poser à terre pour apporter le colis pour ensuite reprendre son envol. Le brevet semble supposer que la technologie est adaptable à tous types de colis et que, surtout, il est possible de choisir de l’utiliser ou non. Lorsque la livraison par drone a plus de sens qu’une livraison classique par camion, Amazon utiliserait la technique du parachute ; dans le cas contraire, le livreur pourrait simplement détacher le parachute du colis avant de le livrer, ce qui permettrait à Amazon de le réutiliser sur un autre paquet. Ce brevet obtenu par Amazon a quand même de quoi faire sourire…
Solution contre le bruit d’essaim de drones !
L’entreprise a également une solution pour le bruit d’essaim que produisent les drones : un design de rotors inédit censé permettre aux drones de voler plus silencieusement.
? Les pales de rotor seraient assorties de ces petites franges à l’aspect végétal qui feraient des miracles en matière de réduction du bruit. On ne va pas se mentir, cela va leur donner une apparence terrifiante. Amazon ne donne bien sûr aucune date de sortie et le projet pourrait ne jamais voir le jour, mais ils ont l’air motivé. Source : The Verge
Le réseau de tunnels pour passer sous le trafic routier
Après le transport par les voies aériennes, c’est le transport souterrain qui est au coeur des réflexions chez Amazon. Dans un brevet de 33 pages, Amazon détaille une solution de livraison étonnante, qui fait appel à l‘exploitation de réseaux souterrains pour passer sous le trafic routier et accélérer ainsi les délais. Qui plus est, le système serait entièrement automatisé pour accélérer un peu plus le traitement des colis. ?Concrètement, Amazon décrit un réseau de tunnels reliant les foyers à certains de ses entrepôts. Des tapis roulants ou tubes sous pression permettraient alors d’acheminer automatiquement les colis vers leurs destinataires qui pour leur part, disposeraient d’un point de collecte dans leur jardin ou dans un local avec des espaces individuels sécurisés par des clés pour les immeubles. Encore une fois, il ne s’agit là que d’un brevet déposé parmi beaucoup d’autres et on imagine les difficultés de la mise en place d’un tel système…
Le dernier projet en date concerne un système de stockage automatisé de colis… sous l’eau.
Le stockage subaquatique
Après les ruches, les dirigeables, Amazon réfléchit au stockage subaquatique pour sa logistique !
?Son brevet décrit un système de stockage de marchandises dans d’immenses bassins, naturels ou pas. De grandes capsules contenant des marchandises être stockées en profondeur. Chaque conteneur se verrait attribuer une signature sonore, permettant de les « rappeler » à la surface par un signal acoustique. Des ballons se gonfleraient alors pour remonter le bon conteneur à la surface… Amazon voit dans ce système un moyen de transporter des charges extrêmement lourdes plus facilement que dans un hangar classique. Amazon imagine décliner cette technologie dans des hangars souterrains, dans des lacs voire même dans la mer. Des navires et avions pourraient alors larguer des conteneurs qui seraient conduits de façon autonome vers la zone de stockage… Une façon de créer des relais logistiques locaux sans devoir construire de immenses hangars où les allers-retours (d’hommes mais surtout de robots) sont incessants. Pas besoin non plus dans ce cas de figure de s’équiper de coûteuses machines de manutention.
Bien sûr, beaucoup de technologies pour mettre en œuvre ces visions ne sont pas encore immédiatement disponibles mais Amazon prouve qu’il ne néglige aucune possibilité (même la plus farfelue, en apparence) pour optimiser son système de logistique… effet buzz de communication ou future proche ?
![]()
Merci d’avoir lu l’article, vous pouvez retrouver davantage d’articles sur l’actualité, les tendances, les innovations ou des thématiques spécifiques du secteur de la livraison du dernier kilomètre, des livraisons urbaine et du transport en général dans le e-commerce, la foodtech ou le retail… en cliquant ici
- BSC – Business Stratégie Conseils accompagnement les entreprises dans leur croissance par le digital ainsi que dans l’adaptation de leur distribution aux enjeux numériques et de l’omnicanalité dans les secteurs de l’e-commerce, de la foodtech et du retail.
- Abonnez-vous directement à mes articles et réseau sociaux en cliquant sur les icônes (twitter, facebook ou linkedIn…) ou envoyez moi directement un message ici


Laisser un commentaire